
Miniature Bearings Australia
CIB-07998-C - Datasheet
MBA
Category Information
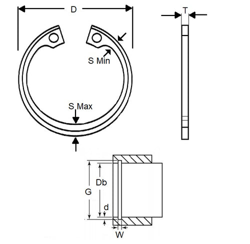
Retaining Rings - Internal - Circlips - BevelledBevelled Circlips Internal Retaining Rings. N1302 / VHO / 16631 / 9002 / N5002. Retaining rings. Snap Rings (USA).
- An expanded range may be available on special order. Please enquire.
- A 15 Deg. bevel on the outside diameter to be fitted to a 15% bevel on the load bearing groove wall.
- Will yield rigid end-play take-up of manufacturing tolerances or wear on the retained part.
- Used in greasy or oily environments.
Product Data
- Housing Bore (B)
:
79.98
mm
(Equiv. 3.149 in.) - Clip Thickness (T)
2.69
mm
+ 0.15 / - 0.00
(Equiv. 0.106 in.) - Groove Dia. (Dg)
85.88
mm
+/- 0.08
(Equiv. 3.381 in.) - Approx. Loose Circlip OD (Dr) 88.09 mm + 2.80 / - 0.00
- Groove Width (W) 2.26 mm + 0.05 / - 0.00
- Tool PRR-I120
- Material Carbon Spring Steel
Product Compliance and Data
Additional Resources
Cross References
- NoCor VHO-314
- VHO314
- N1302-0314
- N13020314


