
Miniature Bearings Australia
CIB-05499-C - Datasheet
MBA
Category Information
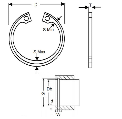
Retaining Rings - Internal - Circlips - BevelledBevelled Circlips Internal Retaining Rings. N1302 / VHO / 16631 / 9002 / N5002. Retaining rings. Snap Rings (USA).
- An expanded range may be available on special order. Please enquire.
- A 15 Deg. bevel on the outside diameter to be fitted to a 15% bevel on the load bearing groove wall.
- Will yield rigid end-play take-up of manufacturing tolerances or wear on the retained part.
- Used in greasy or oily environments.
Product Data
- Housing Bore (B)
:
54.99
mm
(Equiv. 2.165 in.) - Clip Thickness (T)
1.91
mm
+ 0.15 / - 0.00
(Equiv. 0.075 in.) - Groove Dia. (Dg)
59.11
mm
+/- 0.08
(Equiv. 2.327 in.) - Approx. Loose Circlip OD (Dr) 60.58 mm + 1.78 / - 0.00
- Groove Width (W) 1.63 mm + 0.04 / - 0.00
- Tool PRS-I090
- Material Carbon Spring Steel
Product Compliance and Data
Additional Resources
Cross References
- NoCor VHO-216
- VHO216
- N13020216
- N1302-0216


