
Miniature Bearings Australia
CIB-16828-C - Datasheet
MBA
Category Information
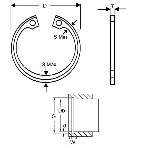
Retaining Rings - Internal - Circlips - BevelledBevelled Circlips Internal Retaining Rings. N1302 / VHO / 16631 / 9002 / N5002. Retaining rings. Snap Rings (USA).
- An expanded range may be available on special order. Please enquire.
- A 15 Deg. bevel on the outside diameter to be fitted to a 15% bevel on the load bearing groove wall.
- Will yield rigid end-play take-up of manufacturing tolerances or wear on the retained part.
- Used in greasy or oily environments.
Product Data
- Housing Bore (B)
:
168.28
mm
(Equiv. 6.625 in.) - Clip Thickness (T)
3.84
mm
+ 0.20 / - 0.00
(Equiv. 0.151 in.) - Groove Dia. (Dg)
178.87
mm
+/- 0.08
(Equiv. 7.042 in.) - Approx. Loose Circlip OD (Dr) 183.59 mm + 4.10 / - 0.00
- Groove Width (W) 3.28 mm + 0.08 / - 0.00
- Tool PRR-I150
- Material Carbon Spring Steel
Product Compliance and Data
Additional Resources
Cross References
- NoCor VHO-662
- VHO662
- N1302-0662
- N13020662


