
Miniature Bearings Australia
CIB-13653-C - Datasheet
MBA
Category Information
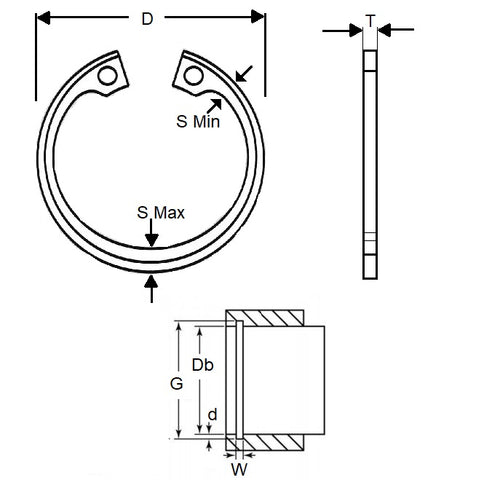
Retaining Rings - Internal - Circlips - BevelledBevelled Circlips Internal Retaining Rings. N1302 / VHO / 16631 / 9002 / N5002. Retaining rings. Snap Rings (USA).
- An expanded range may be available on special order. Please enquire.
- A 15 Deg. bevel on the outside diameter to be fitted to a 15% bevel on the load bearing groove wall.
- Will yield rigid end-play take-up of manufacturing tolerances or wear on the retained part.
- Used in greasy or oily environments.
Product Data
- Housing Bore (B)
:
136.53
mm
(Equiv. 5.375 in.) - Clip Thickness (T)
3.07
mm
+ 0.18 / - 0.00
(Equiv. 0.121 in.) - Groove Dia. (Dg)
145.77
mm
+/- 0.08
(Equiv. 5.739 in.) - Approx. Loose Circlip OD (Dr) 148.46 mm + 3.30 / - 0.00
- Groove Width (W) 2.59 mm + 0.08 / - 0.00
- Tool PRR-I120-X
- Material Carbon Steel
Product Compliance and Data
Additional Resources
Cross References
- NoCor VHO-537
- VHO537
- N13020537
- N1302-0537


