
Miniature Bearings Australia
WRI-0500-RD - Datasheet
MBA
Category Information
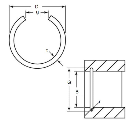
Retaining Rings - Internal - Round WireRound Wire Internal Retaining Rings. Includes DIN7993B / RB / M1700 / BN826. Retaining rings. Snap Rings (USA). Round section circlips.
- An expanded range may be available on special order. Please enquire.
- Round section wire rings are mostly used in semicircular grooves.
- Applications include gear systems, automotive engineering and open gudgeon pins.
Product Data
- Housing Bore (B)
:
50.00
mm
(Equiv. 1.969 in.) - Clip Thickness (T)
2.5
mm
B DIN 2076
(Equiv. 0.098 in.) - Groove Dia. (Dg)
52.50
mm
+ 0.8 / - 0.0
(Equiv. 2.067 in.) - Approx. Loose Circlip OD (Dr) 53.00 mm
- Groove Width (W) 2.80
- Free Inside Diameter (D) 48
- Info DIN7993
- Section Profile Round Section
- Groove Radius (r) 1.40 mm
- Gap (g) 16.000 mm
- Material Carbon Spring Steel
Product Compliance and Data
Additional Resources
Cross References
- NoCor DRB-050
- AMC RB-050
- Seeger RB-050
- RB050
- DRB050


