
Miniature Bearings Australia
WRI-0160-RD - Datasheet
MBA
Category Information
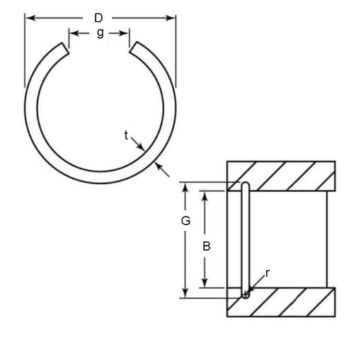
Retaining Rings - Internal - Round WireRound Wire Internal Retaining Rings. Includes DIN7993B / RB / M1700 / BN826. Retaining rings. Snap Rings (USA). Round section circlips.
- An expanded range may be available on special order. Please enquire.
- Round section wire rings are mostly used in semicircular grooves.
- Applications include gear systems, automotive engineering and open gudgeon pins.
Product Data
- Housing Bore (B)
:
16.00
mm
(Equiv. 0.63 in.) - Clip Thickness (T)
1.6
mm
B DIN 2076
(Equiv. 0.063 in.) - Groove Dia. (Dg)
17.60
mm
+ 0.4 / - 0.0
(Equiv. 0.693 in.) - Approx. Loose Circlip OD (Dr) 17.80 mm
- Groove Width (W) 1.80
- Free Inside Diameter (D) 14.6
- Info DIN7993
- Section Profile Round Section
- Groove Radius (r) 0.90 mm
- Gap (g) 8.000 mm
- Material Carbon Spring Steel
Product Compliance and Data
Additional Resources
Cross References
- NoCor DRB-016
- DRB016


