
Miniature Bearings Australia
WRI-1250-RD - Datasheet
MBA
Category Information
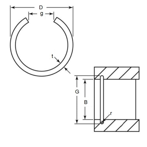
Retaining Rings - Internal - Round WireRound Wire Internal Retaining Rings. Includes DIN7993B / RB / M1700 / BN826. Retaining rings. Snap Rings (USA). Round section circlips.
- An expanded range may be available on special order. Please enquire.
- Round section wire rings are mostly used in semicircular grooves.
- Applications include gear systems, automotive engineering and open gudgeon pins.
Product Data
- Housing Bore (B)
:
125.00
mm
(Equiv. 4.921 in.) - Clip Thickness (T)
3.2
mm
B DIN 2076
(Equiv. 0.126 in.) - Groove Dia. (Dg)
128.20
mm
+ 1.2 / - 0.0
(Equiv. 5.047 in.) - Approx. Loose Circlip OD (Dr) 129.20 mm
- Groove Width (W) 3.60
- Free Inside Diameter (D) 122.8
- Info DIN7993
- Section Profile Round Section
- Groove Radius (r) 1.80 mm
- Gap (g) 32.000 mm
- Material Carbon Spring Steel
Product Compliance and Data
Additional Resources
Cross References
- NoCor DRB-125
- AMC RB-125
- Seeger RB-125
- RB125
- DRB125


