
Miniature Bearings Australia
WRI-0125A-RD - Datasheet
MBA
Category Information
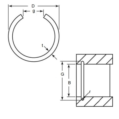
Retaining Rings - Internal - Round WireRound Wire Internal Retaining Rings. Includes DIN7993B / RB / M1700 / BN826. Retaining rings. Snap Rings (USA). Round section circlips.
- An expanded range may be available on special order. Please enquire.
- Round section wire rings are mostly used in semicircular grooves.
- Applications include gear systems, automotive engineering and open gudgeon pins.
Product Data
- Housing Bore (B)
:
12.50
mm
(Equiv. 0.492 in.) - Clip Thickness (T)
1.0
mm
+ 0.08 / - 0.04
(Equiv. 0.039 in.) - Groove Dia. (Dg)
13.79
mm
Min.
(Equiv. 0.543 in.) - Approx. Loose Circlip OD (Dr) 14.40 mm
- Groove Width (W) 1.10 + 0.08 / - 0.00
- Free Inside Diameter (D) 12.4
- Info DIN7993
- Section Profile Round Section
- Groove Radius (r) 0.55 mm
- Gap (g) 7.000 mm
- Material Carbon Spring Steel
Product Compliance and Data
Additional Resources
Cross References
- NoCor D17-0125
- D170125


