
Miniature Bearings Australia
MLM-160M-150-Z-ECO - Datasheet
ECO
Category Information
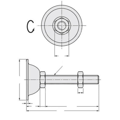
Mounts - Levelling Studded - Economy - Plain BasePlain Base Economy Levelling Studded Mounts. Levelling adjusters. Protects general metalworking processes equipment including punch presses, milling machines, lathes, mixers, injection moulding machines, grinders from shock and vibration.
- An expanded range may be available on special order. Please enquire.
Product Data
- Thread Size (A) : M16 (16x2mm)
- Base Diameter (D)
75.0
mm
(Equiv. 2.953 in.) - Foot Height (C)
32.0
mm
(Equiv. 1.26 in.) - Thread Length (F) 150.0 mm
- Base Height (E) 30.0 mm
- Overall Height 182.0 mm
- Load Rating 53.90 Kg
- Pad Thickness 2 mm
- Pad Material Metal
- Hex Flats (B) 24 mm
- Material Steel - Zinc
Product Compliance and Data
Additional Resources
Cross References
- Misumi® C-CNFJN16-150
- CCNFJN16150


