
Miniature Bearings Australia
PLIT-050-095C-47-K-S3 - Datasheet
MBA
Category Information
Plungers - Indexing Pull Knob - Non Locking - StainlessStainless Non Locking Indexing Pull Knob Plungers. Used to prevent change in locking position due to shearing force. Spring loaded for use in fastening, locating and indexing on equipment, tooling and other applications.
- 303 Stainless Steel
Product Data
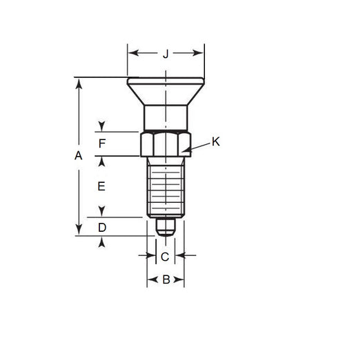
- Thread (B) : 3/8-16 UNC (9.53mm)
- Overall Length (A)
47.0
mm
(Equiv. 1.85 in.) - Initial End Force 0.5 N
- Final End Force 1.2 N
- Tip Diameter (C) 5.0 mm
- Tip Length (D) 5.1 mm
- Nut Size (K) 13.0 mm
- Nut Thickness (J) 7.1 mm
- Material Stainless Steel 303 (Similar to A2, 304, 18-8)
Product Compliance and Data
Additional Resources
Cross References
- GIP30
- GIP-30


