
Miniature Bearings Australia
SC159C-102-SQ-C-DP - Datasheet
MBA
Category Information
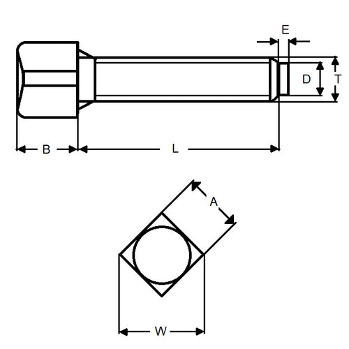
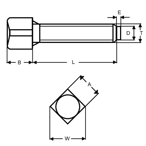
Screws - Set - Dog Point - Square HeadSquare Head Dog Point Set Screws. Grade 8 hreat treated alloy steel. All screws are threaded to the head.
Product Data
- Thread : 5/8-11 UNC (15.88mm)
- Thread Length (L)
101.600
mm
(Equiv. 4 in.) - Head Flats (A)
15.870
mm
(Equiv. 0.625 in.) - Head Height (B) 11.910 mm
- Tip Diameter (D) 11.910 mm
- Tip Height (E) 3.960 mm
Product Compliance and Data
Additional Resources
- Screws & Nuts Catalogue
- Shoulder Screws Catalogue
- Socket Set (Grub) Screws Catalogue
- Thumb Screws & Thumb Nuts Catalogue
- Thread Size Chart - Combined Imperial & Metric
Cross References
- MAC-415
- MAC415


