
Miniature Bearings Australia
WRI-0300-RD - Datasheet
MBA
Category Information
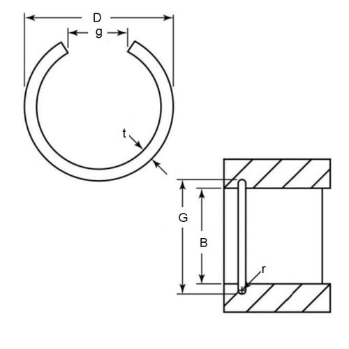
Retaining Rings - Internal - Round WireRound Wire Internal Retaining Rings. Includes DIN7993B / RB / M1700 / BN826. Retaining rings. Snap Rings (USA). Round section circlips.
- An expanded range may be available on special order. Please enquire.
- Round section wire rings are mostly used in semicircular grooves.
- Applications include gear systems, automotive engineering and open gudgeon pins.
Product Data
- Housing Bore (B)
:
30.00
mm
(Equiv. 1.181 in.) - Clip Thickness (T)
2.0
mm
B DIN 2076
(Equiv. 0.079 in.) - Groove Dia. (Dg)
32.00
mm
+ 0.5 / - 0.0
(Equiv. 1.26 in.) - Approx. Loose Circlip OD (Dr) 32.30 mm
- Groove Width (W) 2.20
- Free Inside Diameter (D) 28.3
- Info DIN7993
- Section Profile Round Section
- Groove Radius (r) 1.10 mm
- Gap (g) 10.000 mm
- Material Carbon Spring Steel
Product Compliance and Data
Additional Resources
Cross References
- NoCor DRB-030
- DRB030


