
Miniature Bearings Australia
SC095C-019-SQ-C-CP - Datasheet
MBA
Category Information
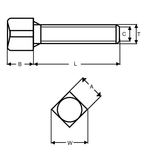
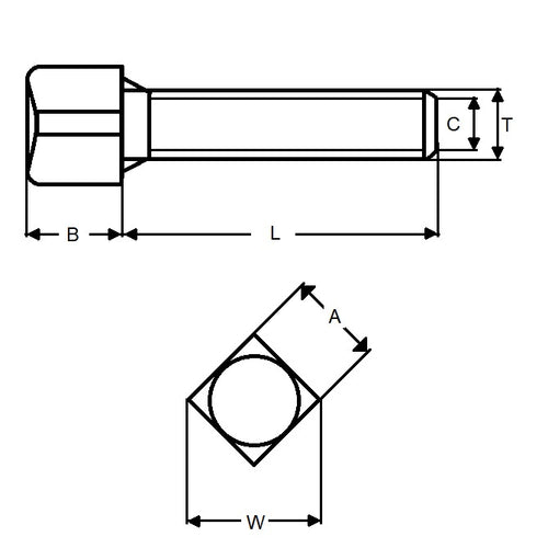
Screws - Set - Cup Point - Square HeadSquare Head Cup Point Set Screws. Grade 8 hreat treated alloy steel. All screws are threaded to the head.
Product Data
- Thread : 3/8-16 UNC (9.53mm)
- Thread Length (L)
19.050
mm
(Equiv. 0.75 in.) - Head Flats (A)
7.920
mm
(Equiv. 0.312 in.) - Head Height (B) 7.130 mm
- C 4.740 mm
Product Compliance and Data
Additional Resources
- Screws & Nuts Catalogue
- Shoulder Screws Catalogue
- Socket Set (Grub) Screws Catalogue
- Thumb Screws & Thumb Nuts Catalogue
- Thread Size Chart - Combined Imperial & Metric
Cross References
- MAC-90
- MAC90


