
Miniature Bearings Australia
SC191C-064-SQ-C-DP - Datasheet
MBA
Category Information
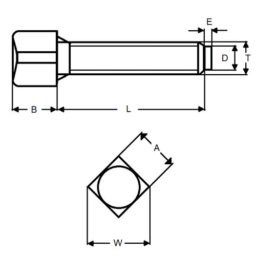
Screws - Set - Dog Point - Square HeadSquare Head Dog Point Set Screws. Grade 8 hreat treated alloy steel. All screws are threaded to the head.
Product Data
- Thread : 3/4-10 UNC (19.05mm)
- Thread Length (L)
63.500
mm
(Equiv. 2.5 in.) - Head Flats (A)
19.050
mm
(Equiv. 0.75 in.) - Head Height (B) 14.270 mm
- Tip Diameter (D) 14.270 mm
- Tip Height (E) 4.740 mm
Product Compliance and Data
Additional Resources
- Screws & Nuts Catalogue
- Shoulder Screws Catalogue
- Socket Set (Grub) Screws Catalogue
- Thumb Screws & Thumb Nuts Catalogue
- Thread Size Chart - Combined Imperial & Metric
Cross References
- MAC430
- MAC-430


