
Miniature Bearings Australia
CB-406-111H-18-PS - Datasheet
KMS
Category Information
Bearings - Conveyor - Single Row - Hex Bore PlasticHex Bore Plastic Single Row Conveyor Bearings. Plastic hex bore conveyor bearings with 316 stainless balls
- This range includes plastic and stainless steel bearings for conveyor lines using hexagonal shafting.
- Both types are ideal for coping with regular washdown.
- Loads and Speeds are for reference only. Testing recommended.
Product Data
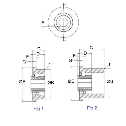
- Hex Bore (A)
:
11.11
mm
+ 0.30 / - 0.00
(Equiv. 0.437 in.) - OD (B)
40.64
mm
+/- 0.080
(Equiv. 1.6 in.) - Width (C)
17.78
mm
(Equiv. 0.7 in.) - Width (D) 15.24 mm
- Flange Dia. (E) 45.72 mm
- Flange Width (F) 2.54 mm
- Max Speed Unloaded 1069 RPM
- Dynamic Load 30 Kg
- Static Load 20 Kg
- Figure Fig 2
- Material Polypropylene Races with Stainless Steel 316 Balls
Product Compliance and Data
Additional Resources
- Catalogue: Ceramic Bearings Catalogue
- Catalogue: Plastic Bearings Catalogue
- Catalogue: Standard Bearings Catalogue
- General: Bearing Cleanliness
- General: Bearing Clearances
- General: Bearing Flanges & Snap Rings
- General: Bearing Retainers (Cages)
- General: General Loads Information
- General: Lubrication
- General: Prefix & Suffix Guide
- General: Static vs Dynamic Loads
- Materials: 316 Stainless
- Materials: CASSTOP Anti-Corrosion Bearing Material
- Materials: Ceramic vs Ceramic Hybrid
- Materials: Ceramic Bearings in Vibratory Applications
- Materials: Ceramic Hybrid Bearings in Vibratory Applications
- Materials: General Bearing Materials
- Materials: Magnetism & Bearings
- Precision: 316 Stainless & Plastic Bearing Tolerances
- Precision: ABEC Basic Information
- Precision: Precision Bearing Tolerances
- Problem Solving: Bearing Failure
- Problem Solving: Fatigue (L10 Life)
- Problem Solving: Noise
Cross References
- KMS CB437-1.6SR-6
- KMS CB437-1.6SR-D0.93-C0.7
- KMS CB437-1.6SR-D0.93-C1.1
- CB43716SRD093C11
- CB43716SR6
- CB43716SRD093C07


