
Miniature Bearings Australia
PLIT-100-200-150-80-KP-S3 - Datasheet
MBA
Category Information
Plungers - Indexing Pull Knob - Stainless and Plastic - StandardStandard Stainless and Plastic Indexing Pull Knob Plungers. With thermoplastic knob
Product Data
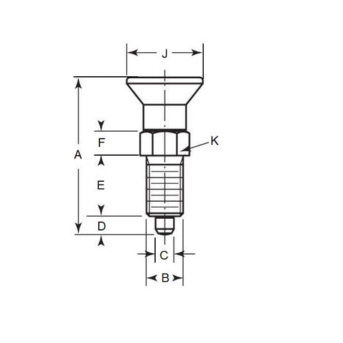
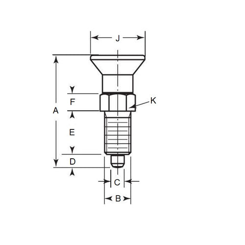
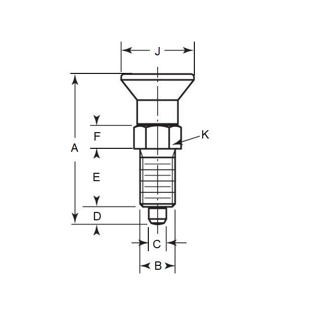
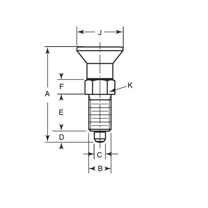
- Thread (B) : M20 Extra Fine (20x1.5mm)
- Overall Length (A)
80.0
mm
(Equiv. 3.15 in.) - Initial End Force 1.5 N
- Final End Force 3.5 N
- Tip Diameter (C) 10.0 mm
- Tip Length (D) 10.0 mm
- Nut Height (F) 12.0 mm
- Knob Diameter (J) 33.0 mm
- Hex Size (K) 22.0
- Material Stainless Steel 303 (Similar to A2, 304, 18-8)
Product Compliance and Data
Additional Resources
Cross References
- KBP607
- KBP-607


