
Miniature Bearings Australia
SC127C-102-SQ-C-CP - Datasheet
MBA
Category Information
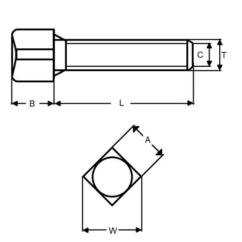
Screws - Set - Cup Point - Square HeadSquare Head Cup Point Set Screws. Grade 8 hreat treated alloy steel. All screws are threaded to the head.
Product Data
- Thread : 1/2-13 UNC (12.7mm)
- Thread Length (L)
101.600
mm
(Equiv. 4 in.) - Head Flats (A)
12.700
mm
(Equiv. 0.5 in.) - Head Height (B) 9.520 mm
- C 6.350 mm
Product Compliance and Data
Additional Resources
- Screws & Nuts Catalogue
- Shoulder Screws Catalogue
- Socket Set (Grub) Screws Catalogue
- Thumb Screws & Thumb Nuts Catalogue
- Thread Size Chart - Combined Imperial & Metric
Cross References
- MAC160
- MAC-160


